Устройство и принцип работы
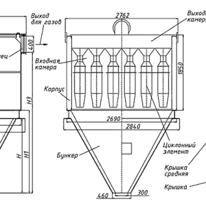
Циклон БЦ-250Р МПП(64+64) состоит из следующих конструктивно важных элементов: металлический корпус из углеродистой стали, входной патрубок, улитки, камера дезактивации, выхлопная труба, контейнер для сбора твердых отходов (зола, шлаки). Принцип работы заключается в следующем: через входной патрубок газ от котла или печи поступает в корпус изделия, где он теряет энергию, проходя через металлических улиток. После потери кинетической температуры и снижения температуры тяжелые частицы скатываются в контейнер для сбора золы, а очищенный газ через выхлопную трубу выходит на поверхность или подвергается дополнительной очистке, если в нем имеются дополнительные токсичные вещества. При применении циклона БЦ-250Р МПП(64+64) нужно учитывать максимально возможную температуру газового потока, которая составляет 400-450 °C, в случае превышения данных температурных показателей возможно усиление коррозийных явлений на металле и как следствие преждевременный выход оборудования из строя.
Особенности и преимущества
- Обеспечивает повышенное сопротивление возврату уноса;
- Повышает уровень КПД (не менее 85%);
- Возможность повышения производительности за счет использования дополнительной секции;
- Температура очищаемого газа – не более 400 градусов;
- Высокое аэродинамическое сопротивление.
Размещение и установка
Циклон БЦ-250Р МПП(64+64) подлежит установке внутри производственного помещения во избежание воздействия перепада температур и появление конденсатов в нижней секции. В случае невозможности установки прибора в помещении, необходимо произвести теплоизоляцию корпуса. При установке агрегата следует рассчитывать расстояние для ручного удаления золы и пыли из бункера. Также важно отметить, что при установке циклона на расстоянии от котла, не допускаются резкие перегибы, сужения или расширения газопровода.
Эксплуатация и техническое обслуживание
Во время эксплуатации циклона БЦ-250Р МПП(64+64) важно следить за сопротивлением и поддерживать его путем отключения какой-либо секции. Недопустимо попадание воздуха снаружи устройства и скопления золы в бункере. При соблюдении графика плановых ремонтных работ и соблюдении всех правил, прибор прослужит долго и эффективно.
Комплектация
Циклон БЦ-250Р МПП(64+64) поставляется единым транспортабельным блоком.






